Wincher pour Barlow 25 : possible, quel model ?

Bonjour à tous.

Pour moi ce montage était impossible. C'est même marqué incompatible avec les barlow 25 sur le site de Wincher.

Oui mais voilà :

C'est bien des barlow 25, c'est bien des Winchers, alors quoi ?

Quelqu'un saurait il me dire quel modèle de wincher est sur les photos ?

L'équipage
06 nov. 2025
07 nov. 2025

Est ce que quelqu'un ici l'a déjà fait sur un barlow 25 ?


07 nov. 2025

Sur le site SVB, quelques avis :

"J'ai essayé de les installer sur un Barlow 25. Bien que le diamètre du tambour soit de 75 mm, ce qui correspond à la taille moyenne que j'ai obtenue, je ne pouvais pas les installer car la partie supérieure du treuil est beaucoup trop large. Je vais probablement essayer un remboursement ou simplement perdre de l'argent."

"Mais la collerette supérieure est bien trop large. J'ai posé la question à Barton Marine, c'est incompatible... "The wincher will not work on your Barlow 25 "

de Ds34 :

"Autre bémol, ça ne se monte pas sur tous les winch, par exemple ça ne se monte pas sur des vieux Barlow 25 (poupée trop étroite par rapport à la lèvre). Pour le savoir, le mieux est de demander directement au fabricant ("Sales (Barton Marine)" Sales@bartonmarine.com). "

J'appelle ds34 pour qu'il vienne ici :-)


08 nov. 2025

J'ai essayé de monter des winchers taille M, sur des Barlow25, rien à faire, ils sont trop étroits. J'avais demandé à Barton, leur réponse est sans espoir:

" The wincher will not work on your Barlow 25 winches, the top lip is too large. Sorry we cannot help you in this instance.
Kind regards 
Christian Brewer
Sales Manager
Barton Marine Equipment Ltd "


08 nov. 2025

Peut-être que la poupée a été passée au tour avant le montage du wincher.


TITIMARIN:Comment dire simplement .... Merci! tu es génial ;-)·le 08 nov. 22:07
05 déc. 2025

Donc, petit papa noel arrive, avec 2 wincher pour mes barlow 25..

Et j'ai eu une idée géniale (comme toutes les idées avant de les réaliser) : On peut réellement se rapprocher des Self tailing pour... 200 € (wincher inclus)

Je vous laisse deviner, avec la photo jointe ;-)


FredericL:J'attends la suite avec impatience...·le 05 déc. 22:52
ds34:Quelle taille, tes winchers?·le 06 déc. 18:57
TITIMARIN:taille M (médium). Et comme l'a suggéré FredericL, je vais raboter le winch si nécessaire . ·le 07 déc. 10:01

mon idée de base, avec la poulie ouverte + le wincher Barton, etait de disposer cette poulie à plat, à hauteur du wincher mais déportée et fixée sur le cockpit, de sorte que le "dernier" tour est passé par la poulie pour retourner vers le wincher. On a alors un quasi self tailing sauf que l'écoute ne sort pas automatiquement du wincher.

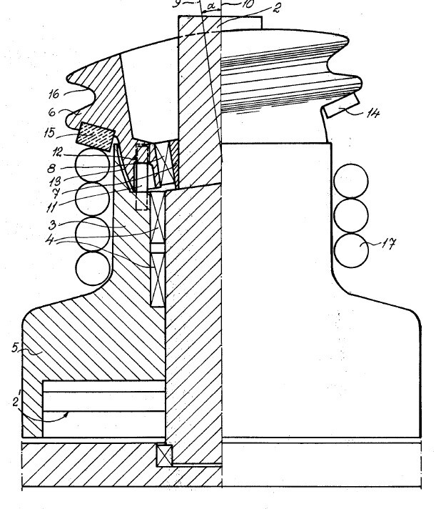
Mais avec le document du brevet FR3033781 il y a moyen de faire un vrai self tailing (toujours avec le wincher) avec cependant une manipulation de plus consistant à rabattre le levier ou autre système, et paf c'est bon ! En outre c'est plus facile à implanter. Franchement, je trouve ça génial !

J'avais repéré d'autres idées , assez exotiques . Je vais joindre les schémas ;-)


voilà un échantillon.

Le brevet qui ressemble comme deux gouttes d'eau au wincher barton date de 1978. Je ne sait pas si Barton avait racheté ce brevet ou pas, mais en tous cas il est maintenant dans le domaine public ;-)

Je suis certain qu'on peut trouver mieux. ca ne va pas plaire aux fabricants de self tailing... mais je pense quand même qu'ils ont fait assez leur beurre dessus ...


Sur le deuxième dessin, ça ressemble pas mal à ce que font les espagnols de autocazantes, non?
www.autocazantes.com[...]us-mk1/


TITIMARIN:il y a effectivement un air de famille !!! je ne connaissais pas ce système , probablement plus facile à monter que les winchers mais certainement plus couteux aussi ;-) Franchement, quand on voit ça, quel est l’intérêt de payer un winch 3 fois plus cher ??·le 13 déc. 10:20
TITIMARIN:cela dit pour le barlow 25 il n'y a pas ni de MK1 ni de MK2 ! ·le 13 déc. 10:24
Lorem Ipsum:Intéressant, ce système !·le 13 déc. 11:26

il y a effectivement un air de famille !!! je ne connaissais pas ce système , probablement plus facile >à monter que les winchers mais certainement plus couteux aussi ;-)

En effet, ils n'en font pas pour le Barlow25. Mais ça ne parait pas très difficile à faire, ou faire faire...


Phare du monde

  • 4.5 (192)

2022